OsecoElfab英国全体员工向中国同仁致以最真挚的问候!

OsecoElfab英国公司全体员工于10月2日齐聚一堂,参加了一场意义非凡的盛会。此次活动将公司60周年庆典、英国女王企业奖颁奖仪式以及慈善募捐活动结合在一起,共同庆祝这一辉煌时刻。
OsecoElfab英国公司总裁兼首席执行官Steve Gallo为活动揭幕,在欢迎辞中回顾了英国公司的历史脉络——从20世纪欧洲工业渊源与本土家族企业联系,直至今日发展的重要里程碑。活动现场还展出了历史展板,以图文并茂的形式生动展现了公司发展历程中的重大发展节点及其他珍贵瞬间。
接下来是支持当地慈善机构圣奥斯瓦尔德疗养院(St Oswald’s Hospice)的慈善筹款活动。疗养院举办了一场《小羊肖恩》形象主题的艺术比赛。这场比赛不仅向公司员工开放,还邀请了员工的朋友和家人。大家通过购买一只专属于自己的小羊肖恩玩偶,并装饰它来参与活动。

比赛结束后,圣奥斯瓦尔德疗养院的Jo Williams和Libby Fryer为获胜的小羊肖恩揭幕,并向获胜者颁发了奖项。除此之外我们还举办了一场慈善彩卷抽奖活动,为圣奥斯瓦尔德疗养院筹集了近450英镑善款。

在丰盛的自助午餐后,我们荣幸地迎来了泰恩-威尔郡(Tyne and Wear)的国王陛下钦定副官露西·温斯克尔女士(Ms Lucy Winskell),她被授予大英帝国官佐勋章(OBE)。温斯克尔女士为我们颁发了英国国王企业奖——国际贸易奖以及皇家认证。该奖项旨在表彰我们位于北希尔兹(North Shields)的工厂(Elfab Ltd)在国际贸易领域的卓越表现,以及在海外销售方面取得的突出增长成就。

她还讲述了一个与我们企业相关的故事:她年幼时生活在纽卡斯尔郊区的高希顿(High Heaton)。在她居住的街道尽头曾住着一位老先生,后来发现两人竟共享同一天生日。从那以后,每年在她生日那天,这位老先生都会沿着这条路走过来,送给她一本精美的插画儿童故事书。直到现在,她还珍藏着那些故事书,而那位老先生正是我们公司的创始人Laszlo Torday!这个美好的故事表明,了解自己的根源和历史,能以意想不到的方式将我们联结在一起。
此次活动是一个与北希尔兹(North Shields)团队共庆辉煌成就的珍贵契机。回望过去60年,Elfab成功的核心无疑在于团队成员始终如一的奉献与忠诚,以及跨代际相互学习、成长与传承的能力。我们珍视每位员工卓越服务客户的热忱,以及坚守企业价值观的承诺。
感恩每一位同仁的并肩同行——愿我们心手相连,共同开启下一个60年的崭新篇章!
爆破片关键术语简释
爆破片作为重要的安全装置,常被视作超压工况下的最后一道安全防线。它能有效预防灾难性爆炸事故的发生,避免人员伤亡、设备损毁以及工厂停机等严重后果。为确保其安全性,爆破片必须在严格的公差范围内进行精密制造,如此方能保证在预设压力下精准爆破。以下是对爆破片制造过程中核心术语的详细解析。
本文将深入阐释这些术语的定义、技术要义,并说明准确理解这些概念能为您的实际应用带来哪些实际效益。由于我们先进的生产技术,以下是我们的主要优势:
- OsecoElfab所有的产品都以零制造范围(MDR)来生产,无需额外费用。
- OsecoElfab 的 Opti-Gard 爆破片具有 3% 的严格爆破公差,而许多爆破片的爆破公差为 5%。
这对用户有何帮助?
您可以提高流程的操作压力,并且使用相同设定压力的爆破片,这将缩短你流程的时间,使安全操作范围更严谨,并且可以合理化库存清单。
例如:你订购爆破压力为100psig的爆破片。以下是典型的供货参数。

允许的最低的标定爆破压力/ 标定爆破压力
例如:
一是、零制造范围,其标定爆破压力是和客户所订购的设定爆破压力是一样的。
二是、10%制造范围,其标定爆破压力是爆破片在实际测试后所得出来的平均值,而这爆破平均值是必须介于所设定在爆破压力的范围内。例如:
- a. 订购的爆破压力=100 psig +/- 5% @ 68’F. 0制造范围。
爆破片标签上的标定爆破压力=100psig +/- 5%@ 68’F.
- b. 订购的爆破压力=100 psig +/- 5% @ 68’F.10%制造设计范围
实际测试后所得出来的爆破平均值=90 psig。
爆破片标签上的标定爆破压力=90 psig +/- 5%@ 68’F
爆破允差:
这是对爆破片在爆破压力方面的限制,通常以正负百分比来表示。
制造设计范围:
这是适用于设定爆破压力的范围,通常以零,-5 %或-10 %来表示。爆破片在实际测试后所得出来的爆破平均值必须介于在所设定的爆破压力范围内。
操作比:
这是爆破片在流程中所能承受的最大压力的建议值。如果超出建议值,爆破片将出现材质疲损并降低其使用寿命。通常以标志爆破压力的百分比来表示。

OsecoElfab在中国
OsecoElfab的压力泄放工程师可针对不同工况需求提供专业规格选型建议,确保过压保护系统可靠性。我们在中国的主要办公室位于天津。
如果您有任何关于泄压装置、压力管理和工程合理化的问题,欢迎随时联系我们,我们期待为您提供专业的帮助与支持。
影响爆破片性能的五个核心参数
API 520 Part I是美国石油学会(API)编制发布的标准规范,作为石化行业爆破片选型的权威指南,其对安全泄放装置的类型划分、选型规范及尺寸计算进行了系统规范。 在爆破片选型过程中需综合考虑工艺参数与设备参数,这些参数直接影响爆破片在泄压工况下的性能表现,因此必须准确定义。
工艺参数
- 容器最大允许工作压力(MAWP)
- 流体介质状态
- 操作压力与温度范围
- 压力波动频率与幅度
- 所需泄放能力
- 工艺流体腐蚀性
- 真空及背压工况条件
- 上下游及并联设备(含安全阀等压力泄放装置)
爆破片参数
- 爆破压力与温度标定值
- 操作比率
- 制造设计范围
- 爆破允差
- 爆破片类型(正拱/反拱/平板型等)
- 结构材料
- 爆破片/夹持器通径与压力等级

在爆破片的设计过程中,设计人员最容易混淆的概念之一便是”制造公差范围”(manufacturing design range)与”爆破压力允差”(burst tolerance)的区分,这是两种截然不同的技术指标。制造公差范围”定义了爆破片标定爆破压力的最大最小限值区间。常见的标准范围为0%、5%、10%三种。当选择5%制造范围时,爆破片的标定爆破压力必须落在客户要求压力值的0%至-5%区间内;10%范围则放宽至-10%下限;而0%范围要求标定压力必须精确等于客户指定值。对于设备维护场景,一般优先选用0%制造范围,这能避免更换或升级爆破片时因压力参数偏差引发的问题。
爆破允差是指爆破片实际爆破压力与标定爆破压力之间允许的偏差范围。按照美国机械工程师协会(ASME)标准要求:对于标称压力高于40 psig的爆破片,在实际工作温度下的爆破压力偏差不得超过标定值的±5%;当标称压力等于或低于40 psig时,则允许的绝对偏差值为±2 psig。这个指标确保了安全泄压装置在允许误差范围内可靠动作。
爆破片选型五步法
API 520 Part I第4.3.6.2.3章节详细列出了爆破片选型流程。结合OsecoElfab的专业经验,我们建议遵循以下步骤进行选型:
- 确定制造设计范围上限:通常选取被保护设备的最高允许工作压力(MAWP)作为基准,若存在叠加背压,需审慎评估该上限值。
- 计算标定爆破压力:从制造设计范围上限中减去其正向允差部分,得出标定爆破压力值。
- 确定制造设计范围下限:从标定爆破压力中减去负向允差部分
- 计算操作比率:用最大操作压力除以制造设计范围下限值
- 低压工况特殊处理:对于15-40 psig的爆破片,计算操作比率前需从制造范围下限中减去±2 psig允差;低于15 psig时请联系OsecoElfab以确定适用比率。
OsecoElfab在中国
我们深知选择爆破片涉及诸多考量因素,相关术语的专业性强且容易造成混淆 。为确保选型准确并满足安全合规要求,我们始终建议您与OsecoElfab此类专业压力安全公司合作 。我们的专家不仅能协助验证产品选型的正确性,还能针对具体工况推荐最优爆破片方案,从而最大化您工厂的运行效率与性能表现 。
如果您有任何关于泄压装置、压力管理和工程合理化的问题,欢迎随时联系我们,我们期待为您提供专业的帮助与支持.
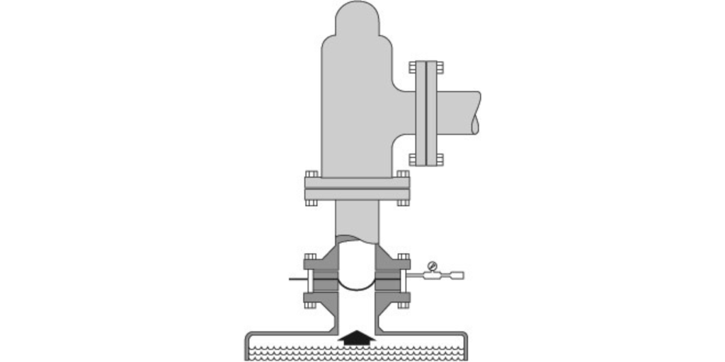
爆破片安装位置及使用方法
美国机械工程师协会(ASME)将爆破片定义为”一种非重复闭合的压力泄放装置,其动作由入口侧的静压力触发,通过承压膜片的破裂实现泄压功能”。爆破片可作为容器超压保护的核心装置单独使用(主泄压),也可与安全阀并联(次泄压)或串联(安全阀保护)使用。
主泄压应用
作为主泄压装置时,爆破片可替代传统安全阀。由于需通过膜片破裂实现泄压,爆破片属于一次性非复位装置,超压事件后必须更换。与阀门相比,爆破片具有更好的密封性,且不含运动部件,这意味着爆破片不会因介质冻结、腐蚀或工艺流体损伤导致失效。
爆破片的泄压响应速度极快,在压力可能瞬时骤升的工艺流程中更具优势。

次级泄压应用
作为压力泄放的次级保护形式,爆破片与主泄压装置(如泄压阀或安全阀)并联安装。爆破片为主泄压装置提供备用泄放通道,既能防止容器超压,又能应对主泄压装置(阀门)的失效风险——当阀门未能正常启动或泄压速度不足时,爆破片将立即动作。
这种配置尤其适用于可能产生异常高压或不可控压力工况的场景,例如放热反应引发的压力骤升,或压力水平超出主泄压装置额定容量的重大事故。

安全阀保护应用
当用于安全阀保护时,爆破片通常安装在阀门的上游位置。这种布置方式可将阀门与工艺介质隔离,避免阀门受到工艺流程中腐蚀性、易燃性、致癌性或毒性物质的损坏或污染。爆破片同时作为零泄漏密封件,能彻底消除阀门潜在的内漏问题。
采用爆破片与安全阀组合的方案,可构建高效、零泄漏且经济实用的压力泄放系统,显著降低阀门维护成本。
重要说明:必须对爆破片与安全阀之间的腔体设置泄压通道,并配置背压监测报警机制。因为压力累积将影响阀门和爆破片的性能参数。典型的配置方案是采用一个带Tel-Tale压力表的超流阀。

如果您有任何关于泄压装置、压力管理和工程合理化的问题,欢迎私信联系我们,我们期待为您提供专业的帮助与支持!
凭借对环境、社会和道德治理(ESG)的承诺,OsecoElfab位列全球可持续发展企业前35%
环境社会治理(ESG)、企业社会责任(CSR)和可持续发展已成为现代商业的核心要素。随着全球对环境与社会议题重视度提升,企业正面临增强透明度与可持续实践的迫切需求,这一要求已延伸至商业伙伴乃至整个供应链体系
从欧盟的《企业可持续发展尽责指令》、日本的《商业与人权指导原则》,到澳大利亚的《现代反奴隶制法》及加州的《供应链透明法案》,全球范围内日益完善的尽责审查法规体系,正在重塑负责任商业实践的标准框架。
什么是EcoVadis?
EcoVadis作为企业可持续性评级平台,自2007年巴黎创立以来,已发展为覆盖130,000余家企业的全球权威评估机构。其通过环境、劳工与人权、商业道德、可持续采购四大维度,为企业及其供应商提供可量化的可持续发展评估。
EcoVadis从环境、劳工与人权、商业道德及可持续采购四大维度对企业进行综合评估。完成评估后,企业将获得详细的记分卡,该记分卡不仅反映自身在各项指标上的表现,还能与贸易伙伴共享。这份标准化文件可用于新供应商准入审核、招标流程(RFP/RFQ)评估、潜在商业风险分析以及年度绩效对标,帮助企业及合作伙伴持续优化可持续实践。

EcoVadis评估机制解析
EcoVadis评估旨在通过客观数据驱动的分析体系,对企业可持续发展表现进行量化评价。参评企业需完成全面审核流程,提交可持续实践的证据文件,包括:环境影响报告、商业道德准则、人权保障措施及可持续采购记录等。EcoVadis将企业提交材料与公开渠道数据交叉验证,最终生成综合评分卡。

可持续发展承诺
对OsecoElfab而言,荣获EcoVadis铜牌认证是践行可持续发展承诺的重要里程碑。作为泄压安全解决方案领域的领军制造商,我们致力于为客户提供更安全、更清洁的解决方案,同时持续降低碳足迹并构建公平公正的工作环境。铜牌认证绝非终点,我们将继续推进可持续发展目标,为所有人构建更绿色、更可持续的未来。
需要供应商提供EcoVadis评分的客户,可随时通过EcoVadis平台或直接联系我们获取我们的评分卡。更重要的是,这份评分卡印证了我们持续兑现的承诺:无论您的行业领域和所在地域,我们都以最高标准制造安全清洁的泄压解决方案。
值此国家生态日之际,让我们共同守护美丽地球,为全人类构筑更安全、更清洁、更健康的未来。绿色发展,生态优先,为美丽中国添彩!

爆破片是一种用于承压设备系统的超压泄放装置
爆破片是一种非自复位、非机械式的压力释放装置(PRD),用于保护容器、管道及其他系统免受过高压力和/或真空工况的影响。由于没有活动部件,爆破片的可靠性极高。其响应时间仅为毫秒级,远快于安全阀或其他类型的压力释放装置。由于重量更轻,爆破片可采用高等级合金材料制造,成本效益优于同类设备。
爆破片既可作为单一压力释放装置使用,也可用于设计有多个压力释放装置的系统,还可用于火灾工况下的应用。根据美国机械工程师协会(ASME)规范,爆破片:
- 禁止用于动力锅炉或其他直接受火容器(ASME第I卷规定)
- 允许用于所有非受火容器(ASME第VIII卷规定)

爆破片的使用规范
爆破片既可以作为唯一的压力释放源,也可以与其他压力释放装置(PRD)结合使用。在《美国机械工程师协会(ASME)锅炉及压力容器规范》中可以查找到在不同使用情况下,爆破片的最大爆破压力规定有所不同:
- 对于作为唯一或主要压力释放源的爆破片,要求其标定爆破压力不得超过受保护容器的最大允许工作压力(MAWP)。
- 对于与其他压力释放装置并联安装的爆破片,其爆破压力不得超过最大允许工作压力的105%。
- 在火灾工况下,若仅使用一个爆破片,其爆破压力不得超过最大允许工作压力的110%。
- 在火灾工况下,若爆破片与其他装置并联安装,其爆破压力不得超过最大允许工作压力的116%。
爆破片通常与安全泄压阀(Pressure Relief Valve,简称 PRV)串联安装。在这类应用中,这些装置被视为“紧密耦合”,这种设计能在爆破片激活时限制对泄压阀产生的冲击载荷。

影响爆破片性能的因素
爆破片以其可靠性著称,然而,作为一种经过精确校准的压力释放装置,有几个因素会影响其何时以及如何爆破。这些因素包括温度、流体介质和爆破片的安装:
温度
爆破片虽以可靠性闻名,但作为对温度敏感的装置,温度的变化会影响其爆破点。一般来说,随着温度升高,爆破片的爆破压力会降低。同理,随着温度降低,爆破片的爆破压力会升高。由于这一特性,设计人员在选择和指定爆破片时,必须仔细考虑泄放温度。
流体介质
爆破片几乎可以指定用于任何流体工况。工艺中的流体介质类型会影响爆破片在爆破时的开启特性,因此,我们建议寻求专家建议,以确保所使用的爆破片针对您的介质进行了正确指定。
安装因素
还有一些安装因素会影响爆破片的性能,如:
- 安装了受损的爆破片可能会降低或提高其爆破压力。在搬运和安装爆破片时,需要小心谨慎,以避免此类问题。
- 爆破片安装方向错误也可能会降低或提高其爆破压力。应遵循爆破片的安装说明,确保以正确的方向进行安装。
- 某些爆破片设计可能对配对法兰的扭矩不均匀或因管道未对齐而产生的力较为敏感。这可能导致爆破片在运行过程中发生意外失效。
在选择爆破片时,我们始终建议与OsecoElfab等专业压力安全公司合作。这样既可以确保选择的正确性,又能够保证安全性和合规性。
OsecoElfab在中国
我们在中国的主要办公室位于上海。如果您有任何关于泄压装置、压力管理和工程合理化的问题,欢迎随时联系我们,我们期待为您提供专业的帮助与支持.